Смешение
СМЕШЕНИЕ, способ
получения однородных смесей твердых сыпучих материалов. Обратный процесс-сегрегация,
приводящий к разделению смесей на отдельные фракции или компоненты. С. может
осуществляться одновременно с измельчением, нагревом либо охлаждением, увлажнением,
хим. превращением.
Однородность смесей оценивают
разл. критериями, среди к-рых чаще др. применяют коэф. неоднородности hсм,
характеризующий среднее квадратичное отклонение в пробах смеси концентрации
компонента, по к-рому проводится анализ. Для смесей отличного качества hсм
= 1-2,5%, для смесей низкого качества hсм > 6%. С. осуществляют
в аппаратах, наз. смесителями, работающих в периодич. или непрерывном режиме.
С. в аппаратах периодического
действия. По механизму процесса эти смесители подразделяют на циркуляционные,
объемного и диффузионного С. Кинетика процесса в них по характеру одинакова:
величина hсм экспоненциально зависит от времени С., постепенно
приближаясь к нек-рому предельному значению hсм,пр, зависящему
от физ.-мех. св-в смеси, режима и конструкции смесителя и иногда от наличия
в смеси небольших агломератов, состоящих из частиц одного компонента. Начиная
с момента достижения смесью за время тсм (оптим. время С.) однородности,
определяемой величиной hсм,пр, скорости С. и сегрегации становятся
равными.
В циркуляционных смесителях
происходит замкнутая циркуляция материала по внутр. объему. Наиб. распространены
смесители с планетарно-шнековой мешалкой И центробежно-лопастные. В планетарно-шнековых
смесителях (рис. 1, а) циркуляция смешиваемого материала осуществляется
шнеком, вращающимся вокруг собств. оси и оси аппарата; рабочий объем 1-20 м3,
время тсм = 1,01,5 ч. В центробежно-лопастных смесителях (рис.
1,3) рабочий орган вращается с окружной скоростью наружных кромок 10-15 м/с,
что обеспечивает мех. псевдоожижение смешиваемого материала; рабочий объем 0,05-0,5
м3 при тсм = 0,15-0,3 ч. Смесители данной группы
применяют для С. сыпучих материалов с малой связностью частиц (красители, пластич.
массы, моющие ср-ва, ингредиенты резиновых смесей, минер. удобрения и др.).

Рис. 1. Циркуляц. смесители:
а-планетарно-шнековый; б-центробежно-лопастной.
В аппаратах объемного С.
рабочие органы (спирали, лопасти, плужники и т. п.) перемещают материал хаотически
по всему рабочему объему. Широкое применение нашли смесители с Z-образными лопастями
(рис. 2, а), Z-образными лопастями и разгрузочным шнеком (рис. 2, б),
плужный (рис. 2, в), пневматич. сопловой (рис. 2, г), барабанный
(рис. 2, д); рабочий объем 0,05-6 м3, тсм
= 1-3 ч. Эти смесители используют для С. сыпучих материалов с повыш. связностью
частиц, а также увлажненных (сложные удобрения, кристаллич. порошки, комкующиеся
красители, пластич. массы, пылевидные материалы).

Рис. 2. Аппараты объемного
смешения: а-с Z-образными лопастями; б-с Z-образными лопастями
и разгрузочным шнеком; в-плужный; г-пневматич. сопловой; д-
барабанный.
В аппаратах диффузионного
С. частицы одного компонента постепенно внедряются между частицами других компонентов;
процесс внешне сходен с мол. диффузией. Смесители этой группы - барабанные,
с гладким корпусом, вибрационные трубчатые, с псевдоожиженным слоем смешиваемого
материала. Их применяют для С. абразивных, взрывоопасных и иных сыпучих материалов.
С. в аппаратах непрерывного
действия. Однородность готовой смеси зависит от точности работы питателей.
Поэтому смесители должны обеспечивать не только качественное С. поступающих
в него компонентов, но и снижать (сглаживать) до требуемого уровня флуктуации
мгновенных расходов питающих потоков. Сглаживающая способность аппарата определяется
объемом смеси в нем и характером движения смешиваемой массы.
В прямоточных аппаратах
смешиваемый материал движется вдоль корпуса практически без продольного С. частиц
при их интенсивном радиальном С. Эти смесители обладают низкой сглаживающей
способностью, комплектуются питателями высокой точности, используются для С.
материалов с малой связностью частиц. В полочном аппарате смешиваемые компоненты
пересыпаются сверху вниз по наклонным полкам за счет гравитац. сил. В центробежном
аппарате смесит. элемент (всего их устанавливают до 5) состоит из вращающегося
полого конуса, закрепленного на приводном валу, и воронки, к-рая жестко связана
с корпусом аппарата. Смешиваемые компоненты поступают в конус верх. элемента,
откуда они под действием центробежных сил выбрасываются на внутр. пов-сть воронки.
По ней они сползают в нижележащий элемент, где процесс повторяется.
В качестве непрерывно действующих
аппаратов объемного С. можно использовать любой из подобных смесителей периодич.
действия с организацией непрерывных подачи в него компонентов и отборе готовой
смеси. Часто для повышения однородности смеси такие смесители составляют из
двух последовательно соединенных периодически действующих аппаратов. Смесители
данной группы отличаются наиб. высокой сглаживающей способностью, что позволяет
применять питатели низкой точности и даже подавать материалы порционно, и используются
для приготовления однородных смесей с высокой связностью частиц, а также увлажненных.
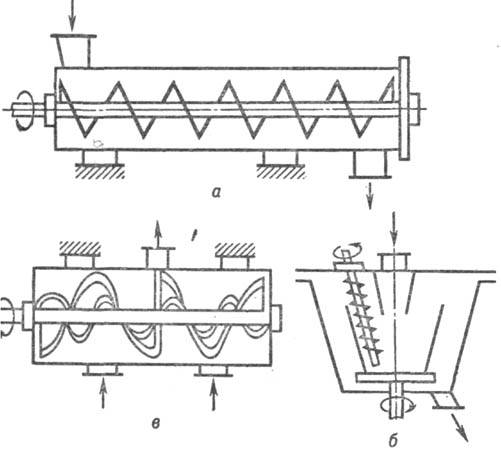
В аппаратах с продольно-радиальным
С. компоненты смеси с помощью рабочего органа (шнек, лента, спираль, наклонные
лопатки и др.) перемещаются вдоль оси корпуса аппарата от места загрузки к месту
выгрузки. Смесители этой группы обладают хорошей сглаживающей способностью,
поэтому их можно комплектовать питателями средней точности. Наиб. распространены
двухшнековые (рис. 3, а), центробежные (рис. 3, б) и ленточные
(рис. 3, в) смесители.

Рис. 3. Аппараты с продольно-радиальным
смешением: а-двухшнековый; б-центробежный; в-ленточный.
Лит.: Макаров Ю.
И., Аппараты для смешения сыпучих материалов, М., 1973; Энциклопедия полимеров,
т. 3, М., 1977, с. 419-30; Кафаров В. В., Дорохов И. Н., Арутюнов С. Ю., Системный
анализ процессов химической технологии. Процессы измельчения и смешения сыпучих
материалов, М., 1985; Смесители для сыпучих и пастообразных материалов. Каталог,
М., 1985.
Ю. И. Макаров.